Complaints and safeguarding

Diagrams

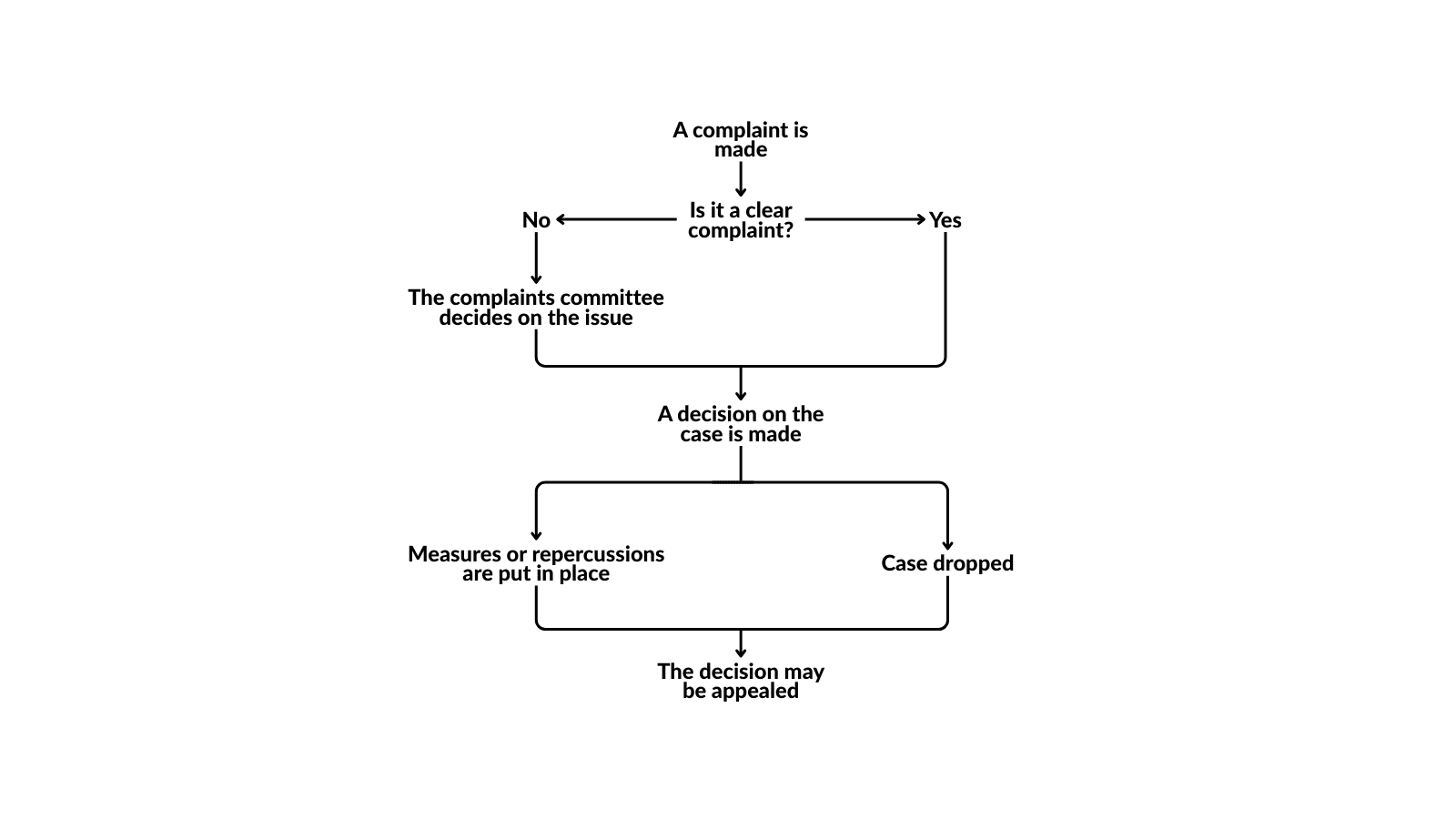
These diagrams visually show how our complaints, minor issues, whistleblowing, and safeguarding procedures work.

Complaints diagram

Minor issue diagram

Whistleblowing diagram

A safeguarding concern is raised by a member diagram

A safeguarding concern is raised by a member of the public

Academic misconduct